Задняя подвеска: вопрос Кулибиным

Модераторы: Бармаглот, тах, Анатолий Васильев, Gamlet

Ответить
Zak
Лейтенант
Сообщения: 66
Зарегистрирован: 25 ноя 2005 12:09
Откуда: StPetersburg
Контактная информация:

Задняя подвеска: вопрос Кулибиным

Сообщение Zak »

Не пинайте за возможную техбезграмотность в названиях.

Известно, что на 32м кузове роль задней подвески выполняет большей частью т.н. "балка". Крепится она через рычаги к кузову.
В месте соединения, в конструкции рычагов, встроенный на заводе сайлентблок.

Хочу заменить эту резиновую прокладку, но как выяснилось, отдельной запчастью ее не продают - только вместе с балкой :shock:

Кто и как выходили из положения при проведении аналогичных работ?
Может, неоригинальный сайлентблок, но - какой? надо ли будет рассверливать чей то там, или - нет?
Короче, принимаю советы.
#vne.zakonov#
Аватара пользователя
Danger777
Генерал-лейтенант
Сообщения: 2010
Зарегистрирован: 21 сен 2005 22:16
Автомобиль: Другой автомобиль
Откуда: Москва ЮВАО Текстили
Контактная информация:

Сообщение Danger777 »

Сайлентблок есть, само-собой неоригинал, на работу выйду отпишу его номер и производитель, сто пудофф есть сайлентблок...
Если Вы кое в чём чего-то не понимаете, это ещё совсем не значит, что в остальном Вы уже разобрались...
С уважением Денис
Аватара пользователя
mostag
Майор
Сообщения: 253
Зарегистрирован: 06 мар 2006 09:38
Откуда: Таганка
Контактная информация:

Сообщение mostag »

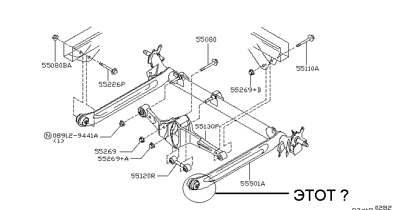
Посмотрю вечером в TecDoc - е, ежели этот -отпишу номерок! :roll:
Вложения
image.gif
image.gif (9.54 КБ) 3053 просмотра
Аватара пользователя
mostag
Майор
Сообщения: 253
Зарегистрирован: 06 мар 2006 09:38
Откуда: Таганка
Контактная информация:

Сообщение mostag »

Посмотрю вечером в TecDoc - е, ежели этот -отпишу номерок! :roll:
Вложения
image.gif
image.gif (9.54 КБ) 3056 просмотров
ALONZO
Лейтенант
Сообщения: 83
Зарегистрирован: 06 май 2006 10:34
Автомобиль: CA33 3.0
Откуда: Москва

Сообщение ALONZO »

в кунцево есть
Zak
Лейтенант
Сообщения: 66
Зарегистрирован: 25 ноя 2005 12:09
Откуда: StPetersburg
Контактная информация:

Сообщение Zak »

СергейН, точно, этот.
И собственного номера у него нет.
#vne.zakonov#
Ответить